드디어 '폴더블'(접을 수 있는) 아이폰이 나오는 걸까.
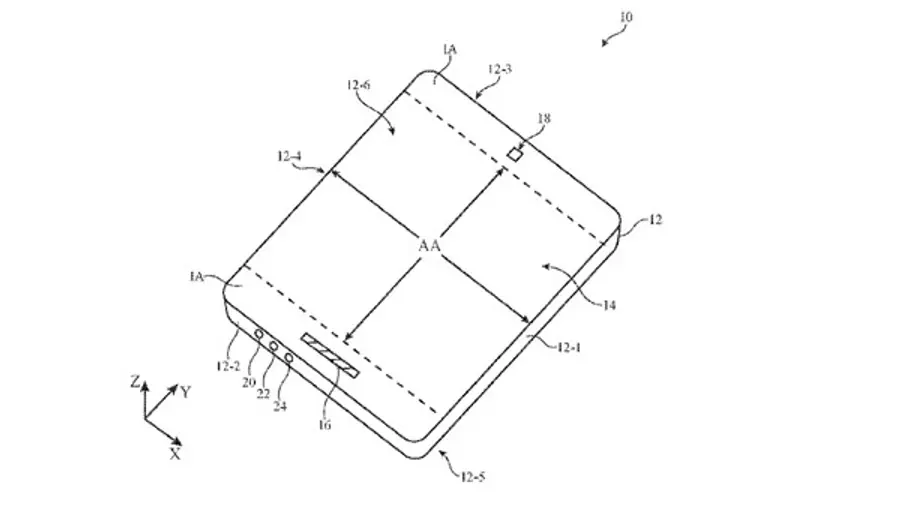
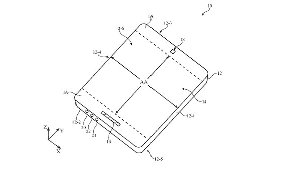
애플은 지난 14일(현지시간) 사용자가 화면뿐만 아니라 기기의 여러 부분을 터치해 기능을 수행할 수 있는 기술을 설명하는 특허를 받았다. 이 특허에 포함된 이미지 중 하나가 랩어라운드 스크린이 있는 폴더블 폰 또는 태블릿의 도면이었다고 CNBC가 전했다.
CNBC는 이 특허는 애플이 머지 않은 미래에 폴더블 기기를 내놓을 수 있다는 기대감을 더해주고 있다고 보도했다.
특허에서 사용자는 카메라를 제어하기 위해 장치의 측면을 터치할 수 있는데, 애플은 이것을 '가상 셔터 버튼'이라고 설명하고 있다. 사용자는 기기 측면에서 손가락을 위아래로 움직여 볼륨도 조절할 수 있다.
또 하나가 랩어라운드 스크린이 있는 폴더블 기기의 도면이다. 랩어라운드 스크린은 기기를 디스플레이로 감싸 앞면, 뒷면, 측면에서 모두 볼 수 있는 형태의 스크린이다.
애플은 아직 삼성전자 등 경쟁사와 달리 폴더블 기기를 선보이지 않고 있다.
UBS는 14일자 보고서에서 "이 특허는 폴더블 디바이스가 나올 수 있는 것을 보여주지만 올해는 그렇지 않을 것"이라고 전망했다. 그러나 애널리스트들은 폴더블폰이 미래 세대 아이폰 모델들에게 점진적인 기회가 될 수 있다고 보고 있다.
UBS는 "폴더블 아이폰 모델이 스마트폰 부문 내 소비자 구매 및 업그레이드율 상승으로 이어질 수 있다고 판단한다"고 밝혔다.
저명한 애플 분석가 궈밍치(郭明錤)도 애플이 오는 2024년 폴더블 아이패드를 출시할 것으로 예상한다고 밝혔다.

댓글 (0)
댓글 작성
댓글을 작성하려면 로그인이 필요합니다.
로그인하기